Сварка, резка и пайка металлов |
Генератор СТВК
Примером стационарного ацетиленового генератора среднего давления может служить генератор СТВК (фиг. 128), изготовляемый нашей промышленностью. Комплектная генераторная установка СТВК состоит из газообразователя Л, газгольдера Б, очистителя В, регулятора давления Г и водяного затвора Д. Газообразователь системы вода на карбид представляет собой цилиндрический резервуар 1, в который вварены две реторты 2, закрывающиеся крышками 3. В реторты вставляются разделённые на секции корзинки 4 для карбида.
Газгольдер среднего давления устроен по принципу сообщающихся сосудов и состоит из двух резервуаров 5 и 6*, расположенных один над другим. В нижнем резервуаре 5 собирается газ и по газоотводящей трубе 7 направляется в очиститель В, далее в регулятор давления Г, водяной затвор высокого давления Д и оттуда в газопроводную сеть.
Активная вода подаётся в реторты из водопровода через бачок 8 с поплавковым клапаном и поступает через сифон 9 в реторты. Реторты заряжаются карбидом и работают попеременно. Вода, поступающая в реторту по сифону 99 заливает последовательно отделения корзины с карбидом, образующийся ацетилен по трубе 10 направляется в нижний резервуар 5 газгольдера и, постепенно заполняя его, вытесняет воду в верхний резервуар 5, причём вытесняемая вода проходит через резервуар газообразователя 1 охлаждая его. Разность уровней воды в резервуарах газгольдера, определяющая собой давление ацетилена, возрастает по мере поступления газа в нижний резервуар. Когда разность уровней в резервуарах газгольдера превзойдёт высоту водяного столба в трубке, подающей активную воду в реторту, приток воды в реторту прекратится и газообразование заканчивается: бачок 8 заполняется водой, поплавок клапана всплывает и закрывает доступ воды из водопровода. По мере расхода газа разность уровней в резервуарах газгольдера уменьшается, поступление воды в реторту и газообразование возобновляются. При повышении давления газа в газгольдере сверх установленной нормы избыток газа уходит в атмосферу из нижнего резервуара газгольдера через предохранительную трубу 11. Генераторы изготовляются четырёх размеров на часовую пpoизвoдитeльнocть от 4 до 32 м3 ацетилена.
Генераторы СТВК рассчитаны для работы на карбиде крупной грануляции 25x50 и 50x80 мм при мелком карбиде идёт слишком быстрое газообразование и может возникать опасный перегрев зоны реакции и образующегося ацетилена. Хорошая конструкция генератора обеспечивает довольно высокий к. п. д. (93—94%) для нормальной производительности; при форсированной работе и максимальной производительности к. п. д. падает до 80—85%. Рабочее давление ацетилена равно 2800—3200 мм вод. ст. Генераторы СТВК обеспечивают достаточно высокое рабочее давление ацетилена, газ хорошо промывается и охлаждается в генераторе, автоматизирована подача активной воды. К недостаткам генератора относятся возможность перегрева ацетилена при форсировании работы, значительные размеры и вес загрузочных карбидных коробок, затрудняющие обслуживание, большая высота генератора (5,25 м), увеличивающая стоимость постройки помещения генераторной станции.
Генератор высокого давления
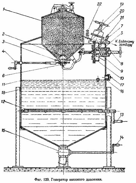
Как уже упоминалось выше, наиболее совершенными следует признать генераторы, работающие по принципу карбид в воду и дающие высокое давление ацетилена. Для примера приведём описание стационарного генератора СГВД (фиг. 129), который сконструировал и построил в лаборатории автора в 1950 г. инж . М. М. Борт.
Карбид кальция мелкой грануляции 2x4 или 4x8 мм загружается в бункер 1, который герметически закрывается. В конце нижней конусной части бункера имеется отражатель 2 для обеспечения постоянства давления карбида кальция на клапан. В средней части горловины бункера 3 имеется задвижка с рукояткой 4 для открывания и закрывания доступа карбида кальция в генератор при длительных перерывах в работе. Нижняя часть горловины бункера закрывается или открывается клапаном 6 пневмомеханического регулятора 5 редукторного типа. Корпус регулятора 5 жёстко вварен в стенку корпуса генератора П. Обратная пружина 7, разжимаясь, передаёт усилие на рычаг клапана 6 и прижимает его к горловине бункера 3, закрывая доступ карбида в генератор. При ввёртывании регулировочный винт 8 сжимает главную пружину 9, а последняя передаёт усилие через мембрану 10 на обратную пружину 7, которая при сжатии позволяет клапану 6 открыть доступ карбида в генератор, что вызывает газообразование и возрастание давления ацетилена в генераторе. Возрастающее давление Р через мембрану 10 передаётся главной пружине 9, которая, сжимаясь, освобождает обратную пружину 7, а последняя, прижимая клапан 6 к горловине, уменьшает или прекращает доступ карбида в генератор, что вызывает падение давления ацетилена.
Таким образом, регулятор позволяет установить любую величину давления в пределах 0,1 —1,5 ати с достаточной точностью. В корпусе генератора 11 имеется мешалка 12 с рукояткой 13. При положении рукоятки вниз лопасти мешалки, представляющие собой решётки, занимают горизонтальное положение и на них задерживаются куски неразложившегося карбида.


При перезарядке генератора вращением рукоятки 13 взмучивается ил и поворотом рукоятки 14 открывается вентиль 15 для спуска ила в иловую яму. Свежая вода заливается в генератор через штуцер 16 до его уровня, а затем штуцер закрывается заглушкой 17. Корпус генератора установлен на стойках 18. Генератор имеет также регулятор рабочего давления редукторного типа 19 с фильтром 20 и манометром 2L На корпусе генератора имеется предохранитель 22.
Генератор рассчитан на нормальную производительность 12 м3/час, а при форсированной работе может обеспечить 20 м3/час. Основным достоинством генератора является обеспечение постоянства давления при пиковых прерывистых нагрузках.
Заводские посты газовой сварки и резки обычно снабжаются ацетиленом по трубопроводам от специальных ацетиленовых станций, помещающихся в отдельных зданиях. Нормальная заводская ацетиленовая станция для собственных нужд завода состоит из:
а) генераторного помещения, где установлены ацетиленовые генераторы и газгольдеры, промыватели , очистители, газовые счётчики;
б) промежуточного склада карбида кальция на суточный запас;
в) раскупорочной , изолированной от других помещений, с отдельным входом, так как при раскупорке железных барабанов с карбидом возможно образование искр; г) вспомогательных и подсобных помещений.
Ацетиленовая станция имеет бетонированные иловые ямы, куда спускается известковый ил из ацетиленовых генераторов. В иловых ямах ил отстаивается и уплотняется, осветлённая вода частично возвращается на питание генераторов, а уплотнённый ил периодически вывозится и может быть использован при изготовлении известкового раствора для строительных наружных работ. Применение ила для работ внутри помещений запрещается из-за происходящего долгое время выделения остатков ацетилена. Ацетиленовая станция, как опасный объект, располагается с соблюдением определённых разрывов (не менее 40 м) от других зданий и строится по определённым правилам. Здание ацетиленовой станции строится одноэтажным из огнестойкого материала, без потолка с лёгким перекрытием. Двери и окна должны открываться наружу, двери должны быть огнестойкими. Генераторное и раскупорочное помещения должны иметь отдельные наружные входы. Пол рекомендуется делать цементным. Помещение должно иметь достаточное естественное освещение через окна. Допускается наружное электрическое искусственное освещение через окна с двойными стёклами посредством кососветов . Допускается лишь наружная электрическая проводка. Отопление должно быть водяным или паровым. Помещение должно иметь достаточную естественную вытяжную вентиляцию. Вследствие значительных преимуществ ацетилена высокого давления для целей сварки в настоящее время рекомендуется строить ацетиленовые станции высокого давления.



