Сварка, резка и пайка металлов |
Очистители ацетилена
Ацетилен, поступающий из генератора, загрязнён примесями, вредными для процесса сварки. Технический карбид кальция содержит серу и фосфор (из угля и извести), азотистые соединения и свободный кремний. Поэтому технический ацетилен всегда содержит газы: сернистый и фосфористый водород H2S и РН3, кремнистый водород SiH4, аммиак NН3. Из этих газов особенно вредны для сварки сернистый и фосфористый водород, обогащающие наплавленный металл серой и фосфором. Кроме того, ацетилен, выходящий из генератора, насыщен парами воды, содержание которых быстро возрастает с повышением температуры выходящего газа.
Водяные пары снижают температуру сварочного пламени и понижают производительность сварки. Количество примесей в ацетилене зависит от качества карбида кальция, системы и конструкции генератора. В генераторах карбид в воду газ проходит через толстый слой воды и хорошо промывается, освобождаясь от пыли и значительной части газов, хорошо растворимых в воде: аммиака, кремнистого и сернистого водорода. Наиболее загрязнённый газ дают контактные генераторы; система вода на карбид занимает промежуточное положение. В настоящее время мощные, технически совершенные предприятия выпускают карбид с минимальным количеством вредных примесей в соответствии с действующими стандартами. Стандартный карбид даёт содержание серы и фосфора в ацетилене, даже без очистки допустимое для многих случаев сварки.
Улучшение конструкции ацетиленовых генераторов обеспечивает основательную промывку газа ещё в самом генераторе, освобождая газ от пыли и хорошо растворимых в воде аммиака, кремнистого водорода и большей части сернистого водорода; слабо поглощается при этом лишь фосфористый водород, мало растворимый в воде. Одновременно промывка газа охлаждает его, и ацетилен выходит из генератора холодным, т. е. с малым содержанием водяных паров. Несмотря на улучшение качества карбида и конструкции генераторов очистка генерируемого ацетилена является полезной, поэтому все ацетиленовые генераторы снабжаются очистительными устройствами.
Очистка ацетилена может складываться из следующих отдельных процессов: 1) промывки ацетилена в воде в промывателях ; 2) химической очистки от РН3 и H2S в очистителях; 3) осушки ацетилена в водоотделителях и осушителях.
Промыватели ставятся лишь при недостаточной промывке ацетилена в самом генераторе. В промывателе ацетилен также несколько охлаждается; вода в промывателе по мере загрязнения периодически меняется.
Химическая очистка газов производится так называемыми очистительными массами. В нашей промышленности обычно применяется масса под названием гератоль , по внешнему виду яркого оранжево-жёлтого цвета, представляющая собой порошкообразную инфузорную землю, пропитанную раствором двухромовокислого калия (хромпик) и серной кислотой. Содержащийся в порошке ангидрид хромовой кислоты СrОз окисляет фосфористый и сернистый водород и переводит их в нелетучие соединения фосфорной и серной кислоты, остающиеся в очистителе. Расход гератоля 20—30 г на 1 м3 ацетилена. Осушка ацетилена от паров воды производится химическими поглотителями, например хлористым кальцием, и обычно применяется лишь в установках для производства растворённого ацетилена.
Предохранительные затворы
Совершенно необходимой частью ацетиленовой установки являются предохранительные затворы. При работе сварочных горелок часто наблюдаются так называемые обратные удары, при которых происходит воспламенение смеси внутри горелки, и взрывная волна, распространяющаяся по подводящему трубопроводу в направлении к ацетиленовому генератору, может вызвать взрыв и разрушение генератора. Предохранительный затвор служит для остановки взрывной-волны и недопущения её в генератор.
По принципу устройства предохранительные затворы разделяются на: 1) жидкостные или водяные и 2) сухие. Конструкция водяных дредохранительных затворов существенно зависит от рабочего давления ацетилена, и аналогично ацетиленовым генераторам различают затворы низкого, среднего и высокого давления. Затворы низкого и среднего давления могут быть объединены в группу открытых затворов, в которых газы при обратном ударе могут свободно выходить в атмосферу. Затворы высокого давления изготовляются закрытого типа, не имеют сообщения с атмосферой, поэтому газы могут выйти в атмосферу лишь прорвав предохранительную мембрану из металлической (оловянной) фольги.
Простейший водяной затвор низкого давления схематически изображён на фиг. 124.

Ацетилен по газоподводящей трубе 1 поступает в затвор, наполненный водой до уровня контрольного крана 5, и, пройдя через слой воды, выходит через кран 2 к горелкам. Разность уровней в открытой сверху предохранительной трубке 4 и затворе определяет рабочее давление газа, питающего горелки. При обратном ударе газовая смесь устремляется назад, поступает в затвор через кран 2 и оттесняет воду -в газоподводящую трубу 1 и предохранительную 4. Вследствие понижения уровня воды в затворе нижний конец предохранительной трубки обнажается и газы выходят в атмосферу. Водяная пробка, образовавшаяся в газоподводящей трубе, не допускает проникновения взрывной волны в генератор. Щиток 5 отражет воду, выбрасываемую из затвора, и возвращает её назад в затвор, уменьшая потерю воды при обратных ударах.
Водяные затворы низкого давления рассмотренной конструкции, как показал многолетний опыт, работают весьма надёжно при правильном их расчёте и при наличии достаточного количества воды в затворе. Уровень воды в затворе проверяется открыванием контрольного крана 3 перед началом работ и после каждого обратного удара, вызвавшего выброс воды. При недостаточном количестве вода доливается в затвор через предохранительную трубку 4.
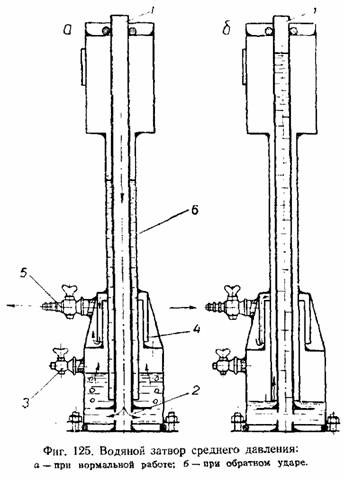
На фиг. 125 а и б схематически показано устройство водяного затвора открытого типа улучшенной конструкции, который изготовляется нашейпромышленностью обычно для среднего давления ацетилена, для чего предохранительной трубке затвора даётся необходимая высота.

Ацетилен поступает в затвор по подводящей трубке1 приваренной к дну затвора и имеющей ряд отверстий в нижней части для выхода газа. Над выходными отверстиями трубки 1 приварена служащая рассекателем шайба 2 распределяющая газ по сечению затвора и мешающая образованию сплошных газовых потоков, могущих пропускать взрывную волну. Ацетилен проходит через слой воды в газовое пространство затвора и вытесняет часть воды в зазор между трубками — подводящей 1 и предохранительной б —на высоту, соответствующую рабочему давлению ацетилена.

На выходе из затвора ацетилен проходит водоотделитель 4, в котором отделяются механически увлекаемые ацетиленом капельки воды, стекающие обратно в корпус затвора. Наличие водоотделителя несколько осушает ацетилен и почти устраняет необходимость добавления воды при работе затвора. Пройдя водоотделитель, газ через кран 5 направляется к горелкам. Контрольный кран 3 служит для проверки уровня воды в затворе. При обратном ударе вода вытесняется в подводящую трубку 1 и образует водяную пробку, препятствующую проникновению взрывной волны в генератор. Газы прорываются через предохранительную трубку 6 и уходят в атмосферу через отверстия в крышке заливной воронки; унесенные капли воды стекают обратно в корпус затвора.
Существенно отлична конструкция водяных затворов высокого давления, которые изготовляются только закрытого типа, так как при открытом выполнении пришлось бы придавать предохранительной трубке чрезвычайно большую высоту — 10—15 м. В затворах высокого давления подводящая трубка перекрывается при обратном ударе обратным клапаном, а короткая предохранительная трубка закрывается тонкой металлической (обычно оловянной) мембраной, разрывающейся при обратном ударе и выпускающей газы в атмосферу. Предохранительная мембрана рассчитывается на давление около 2 ати и заменяется новой после разрыва, произведённого обратным ударом.
Устройство водяного затвора высокого давления схематически показано на фиг. 126. Ацетилен поступает в затвор по подводящей трубке 1, приподнимает обратный клапан 2, распределяется по сечению затвора тарелкой — рассекателем 3 и, пройдя через слой воды, поступает в газовое пространство затвора. Отсюда газ поступает в предохранительную трубку 4, затем направляется к горелкам через ниппель 5. Предохранительная трубка закрыта предохранительной мембраной 6. Уровень воды в затворе проверяется контрольным краном 7. При обратном ударе клапан 2 закрывает газоподводящую трубку, предохранительная мембрана 6 разрывается и выпускает газы в атмосферу.
В последние годы появились сухие предохранительные затворы для ацетиленовых генераторов различных конструкций. Н. Н. Клебанов исследовал в сварочной лаборатории Московского высшего . технического училища имени Баумана сухие предохранительные затворы различных систем. Все эти затворы оказались недостаточно надёжными и не всегда успевали преградить путь взрывной волне. Подобный результат является естественным, так как скорость распространения детонации в ацетилено-кислородной смеси превышает 2000 м/сек, и неизбежная инерция движущихся частей сухих затворов не позволяет им действовать с необходимой скоростью. Действующими у нас правилами защита ацетиленовых генераторов одними сухими затворами без водяных затворов запрещается.
Приведём для примера краткое описание нескольких ацетиленовых генераторов.



