Сварка, резка и пайка металлов |
Техника автоматической сварки под флюсом
Сварка под обычными плавлеными флюсами требует совершенно чистой поверхности металла в зоне сварки. Всякие загрязнения поверхности кромок, в особенности ржавчина, даже в небольших количествах, часто ведут к пористости наплавленного металла и трещинам. Поэтому кромки соединяемых частей подвергаются особо тщательной очистке и процесс сварки должен следовать по возможности немедленно за очисткой и сборкой. Помимо чистоты поверхности кромок, при сварке под флюсом предъявляются повышенные требования к химическому составу основного и электродного металла. Незначительное повышение содержания углерода, серы, фосфора, допустимое при ручной сварке, при автоматической сварке может послужить причиной появления трещин. Появление трещин может вызвать также ликвация — местные скопления, например серы, при допустимом среднем её содержании в металле. Это одна из причин, почему, например, кипящая сталь, склонная к ликвации, при автоматической сварке иногда образует трещины при удовлетворительном среднем химическом составе металла. Затруднения, вызываемые недостаточной чистотой поверхности кромок, отклонениями в химическом составе основного металла или наличием в нём ликвации, могут быть в значительной степени устранены некоторым усилением легирования наплавленного металла специальной легированной электродной проволокой, или применением керамического неплавленого легирующего флюса.
Автоматическая сварка обеспечивает глубокое расплавление металла до 20—30 мм и более, поэтому характер разделки кромок под сварку должен меняться. При сварке на малых токах, ручной или автоматической открытой дугой, глубина расплавления основного металла мала и обычно колеблется в пределах 2—6 мм, поэтому при сколько-нибудь значительной толщине основного металла приходится прибегать к разделке кромок для обеспечения провара всей толщины.
Сварка под флюсом в большинстве случаев обеспечивает провар всей толщины без всякой разделки кромок; необходимость разделки вызывается требованием получения надлежащей формы сечения шва. При сварке под флюсом практически отсутствуют потери металла на угар и разбрызгивание, весь электродный металл переходит в шов и во многих случаях при отсутствии разделки кромок придаёт сечению шва уродливую форму с чрезмерным избытком наплавленного металла, как это схематически показано на фиг. 103. Наличие разделки кромок позволяет убрать излишний наплавленный металл и придать сечению шва надлежащую форму. Поэтому для сварки под флюсом размеры разделки кромок в основном определяются количеством расплавленного электродного металла.

При автоматической сварке, вследствие большой мощности сварочной дуги, образуется большая и глубокая ванна жидкого металла. При нормальных режимах сварки объём ванны составляет 10—20 см3, а глубина до 15—20 мм. Если сварка производится на очень больших токах и малых скоростях перемещения дуги, то объём ванны может достигать 100—150 см2, а глубина её до 50—60 мм, в то время как при ручной сварке объём ванны обычно не превышает 1—2 см3.
Давлением газов дуги жидкий металл оттесняется в сторону, обратную направлению сварки, у основания столба дуги образуется углубление — кратер и сохраняется лишь тонкий слой жидкого металла (фиг. 102).
Процесс образования сварного шва может быть представлен следующим образом: основной металл расплавляется дугой на некоторую глубину, давлением дуги жидкий металл вытесняется назад, в основном металле образуется канавка, лишь частично заполненная жидким металлом. По мере перемещения дуги происходит заполнение канавки жидким металлом, представляющим сплав основного и электродного металлов.

Большой объём ванны создаёт опасность протекания жидкого металла в зазор между кромками, для устранения чего применяют специальные меры и приспособления. Большой объём жидкой ванны приводит к необходимости производить сварку под флюсом только в нижнем положении при горизонтальном расположении поверхности изделия, с отклонением от горизонтальной поверхности не более 5—10° (большее отклонение вызывает вытекание жидкого металла и шлака из зоны сварки и нарушает формирование шва). В последнее время Институту электросварки удалось оуществить сварку под флюсом в вертикальном положении посредством специальных приспособлений, удерживающих жидкий металл и перемещающихся по вертикали вверх, по мере хода сварки.
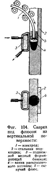
Первый практически пригодный метод автоматической сварки под флюсом на вертикальной поверхности разработал сотрудник института Г. 3. Волошкевич . На фиг. 104 показана сварка стыкового шва с остающейся подкладкой. Вдоль оси шва по поверхности основного металла перемещается снизу вверх формирующий медный башмак 3. Он движется равномерно вместе с электродной проволокой и автоматом (не показанным на фигуре). Электродная проволока подаётся системой роликов, изгибающих её так, что электрод располагается, примерно, на продольной оси шва. Сварочная ванна 4 жидкого металла приобретает вытянутую форму с небольшой свободной поверхностью под электродом, расположенной почти горизонтально. Ванна ограничена сзади подкладкой, а спредп формирующим башмаком, интенсивно охлаждаемым проточной водой и создающим благодаря этому корочку затвердевшего металла. При сварке без подкладки применяются два формирующих башмака, перемещающихся одновременно с передней и задней сторон шва. Флюс подаётся по мере надобности специальным дозатором; избыток шлака стекает и удаляется через верх формирующего башмака. Этот способ уже проверен при сварке кожухов доменных печей и имеет перспективы на значительное производственное применение после внесения дополнительных улучшений.
Стыковые швы. Для неответственных изделий можно иногда ограничиться неполным проваром сечения шва. Для сварки более ответственных изделий, требующих высокой прочности, может применяться двусторонний стыковой шов без разделки кромок; в этом случае сварка производится с каждой стороны на режиме, обеспечивающем расплавление металла на глубину около 0,6 полной толщины металла. Часто применяется сварной стыковой шов с под-варкой обратной стороны, выполняемой вручную или автоматически. Сначала производится ручная подварка , качественными электродами, затем сваривается на автомате основной шов. Двусторонние швы или швы с подваркой требуют поворачивания изделия, что вызывает значительные затруднения и увеличивает общее время выполнения работы. Поэтому для сварки под флюсом широко распространено применение подкладок, позволяющих выполнять сварку с одной стороны без поворачивания изделия.
Часто для устранения протекания расплавленного металла через зазор стыка с обратной стороны шва поджимается съёмная медная подкладка. При наличии медной подкладки сваривать можно за один проход с полным проваром всей толщины металла. Медная подкладка должна по возможности плотно прилегать к основному металлу для устранения протекания жидкого металла через зазор между подкладкой и изделием. Для облегчения пригонки иногда собирают подкладки из отдельных коротких кусков по 200—400 мм.
Существуют два основных способа применения медных подкладок (фиг. 105). В первом случае кромки собирают плотно без зазора, во втором случае сборка производится с зазором между листами в 3—4 мм и с зазором между подкладкой и основным металлом не менее 6 мм. Во втором случае флюс при засыпке просыпается через зазор и заполняет желобок под кладки.

В процессе сварки флюс расплавляется, усаживается и формирует обратный валик шва. Второй способ в большинстве случаев даёт лучшие результаты и широко используется на практике. При правильно подобранном режиме обратная сторона шва имеет безупречное очертание. Довольно широко применяются остающиеся стальные подкладки, если их наличие не мешает дальнейшей нормальной работе изделия. Под стыковой зазор подводится стальная полоска толщиной 3—5 мм, шириной 40—50 ми. Подкладка хорошо пригоняется к изделию и прихватывается в отдельных местах ручной сваркой. По окончании сварки подкладка оказывается наглухо приваренной к изделию.
Вместо металлических подкладок для сварки стыковых швов можно применять с обратной стороны слой флюса, так называемую флюсовую подушку. Часть флюса подушки, расплавляясь, образует
шлаковую корку и усаживается, формируя усиление обратной стороны шва. Для качественного выполнения шва и устранения вытекания жидкого металла необходимо, чтобы флюс подушки был уплотнён и поджимался к обратной стороне изделия с достаточной силой. На фиг. 106 показано простейшее приспособление, обеспечивающее плотное прилегание флюса подушки к изделию

К изделию 1 снизу подводится стальное корыто 4, в которое заложен эластичный резиновый шланг 3. Флюс 2, образующий подушку, располагается на асбестовой ленте 5. При подаче сжатого воздуха шланг 3 раздувается и плотно поджигает флюс к изделию.
Примерные режимы автоматической сварки стыковых швов для малоуглеродистой стали даны в табл. 12.

Угловые швы. Сварка угловых швов производится: 1) вертикальным электродом в так называемую симметричную или несимметричную лодочку, 2) наклонным электродом (фиг. 107). Наилучшие результаты даёт сварка в лодочку, какую рекомендуется применять для угловых швов везде, где это возможно. При угловых швах также иногда приходится принимать меры против возможного протекания жидкого металла в зазоры. Для этой цели также применяются подкладки, подварка обратной стороны, сварка в два слоя, уплотнение зазоров асбестовым шнуром и т. д.

Примерные режимы автоматической сварки угловых швов даны в табл. 23.
Прорезные швы. Глубокое расплавление, получаемое при сварке под флюсом, позволяет получать оригинальное, так называемое прорезное или нахлёсточное соединение, получаемое проплавлением всей толщины верхнего соединяемого элемента с частичным расплавлением металла нижнего элемента (фиг. 108).

При хорошей сборке и достаточно чистой поверхности соединяемых элементов прорезное соединение оказывается достаточно надёжным
Прорезное соединение может выполняться также в виде отдельных точек или электрозаклёпок . Особенно надёжными получаются электрозаклёпки , если в верхнем листе имеется предварительно просверленное отверстие. Такие электрозаклёпки нашли широкое промышленное применение, например, в вагоностроении, в сельхозмашиностроении и пр. наряду с обычными заклёпками и точечной контактной электросваркой. Для сварки электрозаклёпок вместо обычных автоматов применяются простейшие приспособления, в которых подача электрода не производится, а дуга горит до естественного обрыва вследствие удлинения.
Кольцевые швы. Сварка под флюсом кольцевых швов в вертикальной плоскости, т. е. швов на поверхности поворачивающегося цилиндра, часто представляет затруднения, возрастающие с уменьшением диаметра цилиндра. При диаметрах свариваемого изделия менее 500 мм расплавленный металл и жидкий шлак вытекают из зоны сварки в сторону вращения изделия. Для удовлетворительной сварки кольцевых швов малого диаметра уменьшают сварочный ток, длину и напряжение дуги, скорость сварки; смещают электрод от зенита в направлении против вращения изделия
При сварке швов изделий диаметром от 100 до 400 мм смешение электрода берётся в пределах от 5 до 30 мм, увеличиваясь с уменьшением диаметра. Применяются Также специальные флюсы с повышенной вязкостью шлака, обеспечивающие высокую устойчивость дуги и позволяющие работать на очень короткой дуге.
Помимо выполнения нормальных соединений на малоуглеродистой стали автоматическая сварка под флюсом применяется для сварки спецсталей и цветных металлов, для наплавочных работ, для обварки топочных связей в котлах, для приварки шпилек к листам и т. д.
Автоматическая сварка под флюсом непрерывно развивается и совершенствуется; можно отметить многодуговые автоматы, работающие двумя или более дугами на обитую сварочную ванну. Имеют перспективу развития автоматы, работающие дугой трёхфазного тока (Г. П. Михайлов), что обещает значительные выгоды, равномерно загружающие питающую трёхфазную сеть и значительно повышающие производительность сварки. Трёхфазная дуга может применяться также для полуавтоматической и ручной сварки.
Автоматическая сварка под флюсом обеспечивает более высокое качество и прочность сварных соединений, по сравнению с ручной сваркой качественными электродами, за счёт большей однородности сварных швов, более правильной и гладкой их внешней поверхности и плавных очертаний, что имеет существенное значение для соединений, работающих при переменной и динамической нагрузке.
Получается однородный хорошо раскисленный наплавленный металл благоприятного химического состава, содержащий в среднем при сварке малоуглеродистой стали (в процентах): углерода 0,10—0,13; кремния 0,20—0,30; марганца 0,60—0,75; серы 0,03; фосфора 0,03; кислорода 0,03, азота 0,003.
Применение легирующих неплавленых флюсов и легированной электродной проволоки даёт возможность повысить легирование наплавленного металла до любых требующихся пределов.

Значительные размеры ванны, сравнительно медленное её охлаждение и затвердевание обеспечивают достаточно полное освобождение расплавленного металла от неметаллических включений и газовых пузырей, успевающих всплыть на поверхность ванны и перейти в шлак. Наплавленный металл получается плотным и чистым.
Замедленное охлаждение создаёт грубозернистую дендритную структуру; отдельные столбчатые кристаллиты иногда заметны на шлифе невооружённым глазом (фиг. 110). Эта грубозернистая структура вызывает иногда опасения появления возможной хрупкости металла. Многочисленные испытания указывают на высокую пластичность наплавленного металла, несмотря на крупнозерни-стость , что, вероятно, может быть объяснено чистотой металла.

В особо ответственных изделиях грубозернистая дендритная структура наплавленного металла может быть устранена и превращена в мелкозернистую равноосную посредством отжига, повышающего пластичность. Механические свойства наплавленного металла и сварного стыкового соединения для сварки под флюсом малоуглеродистой стали при различной термообработке приведены в табл. 14, из которой видно, что по прочности и пластичности наплавленный металл не уступает прочности обычной малоуглеродистой стали.

Отжиг, улучшающий структуру, снижает пределы прочности и текучести, повышая относительное удлинение и ударную вязкость. Наплавленный металл воспринимает в известной степени закалку, повышающую пределы прочности и текучести и снижающую относительное удлинение и ударную вязкость.



