Сварка, резка и пайка металлов |
Автоматы с постоянной скоростью подачи электрода
Выше упоминалось, что при достаточных скоростях плавлении электродной проволоки возможна удовлетворительная работа дугового автомата при постоянной скорости подачи электрода без применения каких-либо автоматических механизмов для регулирования процесса сварки. В этом случае автомат превращается в простейший механизм для подачи электродной проволоки в дугу с постоянной скоростью. Идея подобного автомата оригинальна и принадлежит Советскому Союзу, где такие автоматы нашли самое широкое применение. Они особенно удобны для производства, так как требуют минимального ухода и обслуживания.
Автоматы с постоянной скоростью подачи электрода созданы Институтом электросварки АН УССР, который разработал целую серию автоматов для сварки под флюсом на токи до 3000 а, как несамоходных (подвесных), так и самоходных и сварочных тракторов. Конструкция автоматов отличается простотой: трёхфазный асинхронный электродвигатель с постоянным числом оборотов через коробку передач приводит во вращение ролик, подающий электродную проволоку. Изменение скорости подачи проволоки производится сменой передаточных зубчатых колёс. Таким же образом регулируется скорость перемещения по шву у самоходных автоматов и сварочных тракторов.
Автоматы снабжаются дополнительными устройствами: для правки электродной проволоки, поворота, наклона и точной установки автомата над швом, указателями и копирами, корректирующими положение конца электрода относительно оси шва. Автоматы с постоянной скоростью подают проволоку всё время в направлении к изделию и не производят автоматически обратной подачи электрода для зажигания дуги, которое выполняется поэтому специальными приёмами. Первый из этих приёмов состоит в том, что на поверхность изделия кладётся небольшой клубочек тонкой стальной проволоки или стружки. До начала сварки на клубочек замыкается электрод без тока, а место сварки засыпается флюсом. После этого включаются сварочный ток и одновременно механизм подачи автомата. При включении сварочного тока сжигается клубочек проволоки, зажигается дуга и быстро устанавливается нормальный режим работы автомата вследствие способности сварочной дуги к саморегулированию.
Чаще применяется другой приём, не требующий клубочка проволоки для каждого зажигания. Электрод закорачивается на изделие включением подачи автомата, без включения сварочного тока, затем засыпается флюс и зажигание производится кратковременным пуском электродвигателя автомата в обратную сторону на удаление электрода от изделия, что и производит зажигание дуги. После зажигания дуги сварщик, обслуживающий автомат, переключает электродвигатель автомата на подачу электрода к изделию и вследствие саморегулирования сварочной дуги быстро устанавливается нормальная работа автомата. В конце сварного шва сварщик выключает механизм перемещения дуги и автомат, подающий электродную проволоку; сварочный ток не выключается, и дуга продолжает гореть до естественного обрыва вследствие её удлинения. Таким образом заделывается конечный кратер.

Управление автоматом производится обычно через устанавливаемый в удобном месте кнопочный пульт управления, с кнопками пуск, стоп, вверх, вниз.
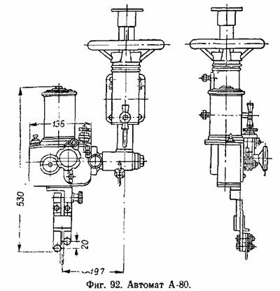
Автоматы с постоянной скоростью подачи электрода изготовляются разных типов для различных назначений и вследствие простоты устройства и надёжности в работе наиболее распространены.
На фиг. 92 показан один из простейших автоматов Института электросварки — несамоходный автомат А-80, а его кинематическая схема приведена на фиг. 93. Автомат рассчитан на сварочные токи до 1000 а и снабжён трёхфазным асинхронным электродвигателем мощностью 0,1 квт . Вес автомата без проволоки и флюса равен 50 кг. Изменение скорости подачи электродной проволоки производится путём смены подающего ролика. К автомату прилагается набор роликов различных диаметров.

На фиг. 94 показан самоходный автомат САГ-4 Института электросварки с державкой для проволоки и бункером для флюса. Для упрощения конструкции, уменьшения размеров и веса автомат имеет один приводной электродвигатель мощностью 0,1 квт , производящий одновременно по двум независимым кинематическим цепям как подачу электродной проволоки, так и перемещение автомата вдоль сварного шва. Кинематическая схема автомата показана на фиг. 95. Автомат рассчитан на сварочный ток до 1500 а, вес его без проволоки и флюса равен 52 кг. Скорость подачи проволоки и перемещения автомата меняются путём смены зубчатых колёс.

Весьма интересны конструкции сварочных тракторов Института электросварки, представляющих собой автомат, установленный на самоходной тележке, приспособленной для перемещения непосредственно по поверхности изделия или по лёгкому переносному рельсовому пути. Обычно в сварочных тракторах автомат и тележка имеют отдельные приводные моторы и редукторы, что сказывается на увеличении размеров и веса трактора (от 60 до 100 кг).
Сварочные тракторы конструкции Института электросварки имеют общий приводной электродвигатель мощностью 0,1 квт , вследствие простоты конструкции, портативности и надежности в работе.

Дуговые автоматы с постоянной скоростью подачи электродной проволоки являются основным типом, применяемым в нашей промышленности. Они изготовляются в настоящее время не только Институтом электросварки, но также заводами электропромышленности и другими организациями. Например, Научно-исследовательский институт технологии машиностроения ЦНИИТМАШ изготовляет дуговые автоматы с постоянной скоростью подачи, отличающиеся от автоматов Института электросварки, помимо конструктивного оформления, наличием механизма, позволяющего плавно изменять скорости подачи проволоки и перемещения автомата вдоль шва. В автоматах Института электросварки изменение скоростей производится ступенями путём смены зубчатых колёс или роликов, что может быть выполнено лишь по прекращении работы автомата. В автоматах ЦНИИТМАШ скорости регулируются посредством механического фрикционного бесступенчатого вариатора системы Светозарова , дающего возможность производить плавное регулирование на ходу, без перерыва работы автомата.


На фиг. 97 для примера приведён сварочный трактор УТ-2000 конструкции ЦНИИТМАШ. На самоходной тележке с приводным электродвигателем укреплена подъёмная колонка, поддерживающая поворотное коромысло. На одном конце коромысла подвешен автомат с бункером для флюса и трёхроликовым копиром, корректирующим положение конца электрода относительно оси шва. На другом конце коромысла подвешена катушка электродной проволоки.

Установка автомата по шву достигается путём поворота, перемещения по высоте и закрепления в нужном положении коромысла около оси колонки. Автомат имеет свой самостоятельный электродвигатель трёхфазного тока и свой вариатор скоростей в кинематической цепи привода роликов, подающих электродную проволоку. Скорость перемещения трактора регулируется вариатором скоростей самоходной тележки. Трактор УТ-2000 может работать электродной проволокой диаметром от 3 до 8 мм при сварочном токе от 300 до 2000 а. Вес трактора 130 кг.



