Сварка, резка и пайка металлов |
Электрическая дуговая сварка
ВИДЫ ДУГОВОЙ ЭЛЕКТРОСВАРКИ
Электрическая дуговая сварка в настоящее время является важнейшим промышленным видом сварки металлов и занимает первое место среди других способов сварки по числу действующих установок, занятых рабочих, объёму и стоимости выпускаемой продукции.
Дуговая электросварка создана почти полностью трудами русских и советских учёных и техников, которые сделали в этой области больше, чем учёные и техники любой другой страны. Само явление дугового разряда впервые открыл и исследовал в 1802 г. академик В. В. Петров (1761 —1834), давший описание дугового разряда в классическом труде Известие о гальвани-вольтовских опытах, изданном в 1803 г. Среди других явлений, в этой книге описано и плавление металлов дуговым разрядом.
Использование дугового разряда для сварки металлов впервые осуществил в 1882 г. русский инженер Н. Н. Бенардос (1842— 1905). Значительные усовершенствования в процесс дуговой электросварки внёс инженер Н. Г. Славянов (1854—1897). В 1888 г. он закончил разработку способа дуговой сварки металлическим электродом, важнейшего способа современной промышленности. Электрическая дуговая сварка всегда выполняется как сварка плавлением, источником тепла служит электрический дуговой разряд. Дуговая электросварка разделяется на многочисленные виды и разновидности, но лишь немногие из них имеют серьёзное промышленное значение.
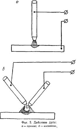
Классификацию способов дуговой сварки можно провести по различным признакам, наиболее существенным из которых является способ воздействия дуги на металл. Действие дуги может быть прямым (фиг. 3, а) или косвенным (фиг. 3,6). В первом случае металл включён в сварочную цепь и является одним из электродов дугового разряда. Металл нагревается главным образом за счёт бомбардировки его поверхности электрически заряженными частицами. Удельная мощность на нагреваемой поверхности в области электродного пятна весьма высока, нагрев чрезвычайно интенсивен. В этом случае наиболее ярко выявляются характерные особенности процесса дуговой электросварки.

При дуге косвенного действия основной металл не включён в сварочную цепь, не является электродом дуги и нагревается преимущественно за счёт теплопередачи от газов столба дуги и её излучений. Удельная мощность на нагреваемой поверхности в десятки раз ниже, чем в дуге прямого действия. Характерные особенности дуговой сварки выражены слабее, технологически способ приближается к газовой сварке.
Комбинированное действие дуги, объединяющее особенности прямого и косвенного нагрева, может быть осуществлено например, по схеме, приведённой на. фиг. 4. Электроды могут быть плавкими, быстро плавящимися (материал электрода в этом случае принимает существенное участие в: образовании наплавленного металла), могут быть и неплавкими, или совсем не-плавящимися, например угольные электроды, или же плавящимися медленно и не принимающими заметного участия в образовании наплавленного металла, например вольфрамовые электроды.. Для питания дуги может применяться как постоянный, так и переменный ток. Последний может применяться одно- и многофазный, низкой и высокой частоты. Возможно применение усложнённых схем с одновременным использованием постоянного и переменного токов, токов разных частот и т. Д.
Существенным технологическим признаком является способ защиты зоны сварки от окружающей среды и от воздействия окружающего атмосферного воздуха. Схема классификации способов; дуговой сварки по этому признаку показана на фиг. 5.
Сварочные дуги прежде всего можно разделить на открытые:
и закрытые или погружённые.


В открытой дуге сварочная ванна может не иметь никакой защиты или может быть защищена слоем. шлака или струёй защитного газа, вдуваемого в зону сварки, например водорода, . аргона, азота и т. п. Применяется также и комбинированная защита шлаком и газом. Закрытая или погружённая дуга находит весьма важное промышленное применение в способе дуговой сварки под флюсом.

Комбинации вышеуказанных признаков: по способу действия дуги, роду электрода, виду электрического тока и методу защиты сварочной ванны в различных сочетаниях образуют десятки разновидностей дуговой электросварки, более или менее существенно отличающихся то технологическим свойствам. Практическое промышленное значение имеет прежде всего сварка по способу Славянова, т. е. сварка дугой прямого действия плавким металлическим электродом. Схема сварки по способу Славянова показана на фиг. 6. На втором месте стоит сварка по способу Бенардоса , т. е. сварка дугой сварки по этому способу показана на фиг. 7. прямого действия неплавким угольным электродом.



